Quartz Microbalance - QMB
The OmniVac QMB 100 Quartz Oscillator is an indispensable tool for thickness control during thin film growth. Equipped with standard 6 MHz industrial quartzes, the QMB 100 can easily be fitted to the needs of the experimental setup.
The high temperature design allows for a use of the QMB 100 in combination with high temperature evaporants.
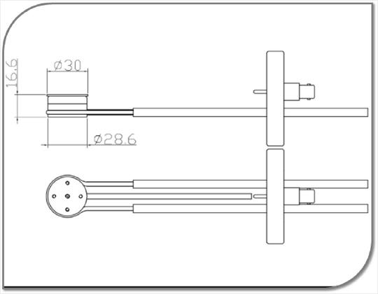
The QMB 100 is mounted on a DN 40CF flange containing the necessary water and coaxial feedthroughs.
Alternatively, the QMB assembly can be mounted on a SH Sample Holder (QMB 200), thus enabling rate measurements at the position of the sample.
QMB 100 Quartz Oscillator
|
Crystal |
Industrial standard 6 MHz, 10 mm diameter |
|
Cooling |
Water, 0.8 l/min, 6 mm tube |
|
Materials |
Non-magnetic |
|
Connector flanch |
BNC |
|
Mounting flanch |
DN 40 CF |
QMB 200 Quartz Oscillator
|
Crystal |
Industrial standard 6 MHz, 10 mm diameter |
|
Cooling |
via cooling finger |
|
Materials |
Non-magnetic |
|
Mounting |
SH Sample Holder |
Control Unit Sycon Inc. STM 1 / STM 2
|
High performance |
10 measurements per second, 0.01 Å/s rate display |
|
Interface |
RS232/RS485 |
|
Software |
LabVIEW™ application |
|
Dimensions |
3” x 4” PCB or ½ 19“ units |
| Features: |
 |
high temperature operation |
 |
standard 6 MHz quartz crystals |
 |
DN 40 CF |
|
| Related Products: |
 |
EV 100/200/300 Evaporators |
 |
EEV 100/200/300 Electron Beam Evaporators |
|